Spielzeugs
Übersicht: Eisenbahn und Trucks
Eisenbahn
- aus Holz
- selbst entworfen, gezeichnet, konstruiert, gefräst und aufgebaut
- wird hin und wieder erweitert und kann erweitert werden
- robust, haltbares Spielzeug durch Verwendung von Sperrholz/Multiplex Birke und Buche (für filigrane Teile)
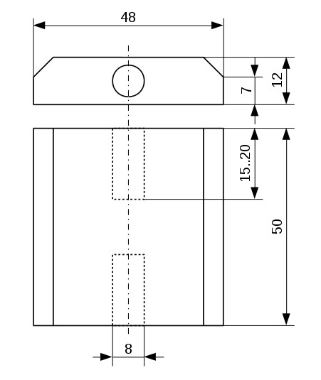
- identisches Chassisdesign für alle Wagons
- Chassis und Aufbauten der Wagons in der Länge variabel anpassbar
- Einzelradaufhängung (Räder laufen einzeln und unabhängig)
- Kopplung der Wagons über Neodymmagneten
- Zug kann nicht zweckentfremdet verwendet werden (zu schnell bewegen, schleudern, werfen, hoch heben), da sich dann die magnetische Kopplung von selbst löst
- einfache und komplexere Wagons/Lokomotive verfügbar
- Übersichtszeichnung, Bilder und technische Zeichnungen aller Teile vorhanden
- bestimmte Teile der Modelle teilweise per CNC graviert/gravierbar
- auch ohne CNC-Maschine nachbaubar, durch mehrere Möglichkeiten der Vereinfachung
- CNC-Dateien verfügbar
Weitere Wagons befinden sich in der Entwurfsphase:
- Getreidewagon
- große Dampflok
- Personenwagen
- Silowagon
Die Baupläne, Materiallisten und Beschreibungen können gegen eine Schutzgebühr (10,- Euro für den kompletten Zug) als pdf-Dateien geordert werden. Pro Wagon oder Lok je eine pdf-Datei. Die pdf-Dateien sind im Format A3 und enthalten Übersichtszeichnungen, technische Zeichnungen der einzelnen Bauteile, Materialliste, Vorlagen für CNC-Ausschnitt und einen Vorschlag für den Aufbau. Die CNC-Dateien liegen im dxf-Format vor und können ebenfalls angefordert werden. Dazu einfach eine E-Mail schreiben (s.u.).

























